广告材料定制专家定制广告材料15年,提供整体解决方案!

全国咨询热线 : 18638156288
您的位置: 英盛广告材料 > 新闻资讯 >

英盛KT板应用-YI种KT板滚筒式裁切机

信息摘要:
公开了YI种KT板滚筒式裁切机,包括支架、固定在支架上的用于夹紧并传输KT板的滚筒组件以及固定在支架上的刀片组件;滚筒组件包括上滚筒、设置在上滚筒下方的下滚筒、调节上滚筒
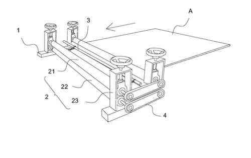
1 .YI种KT板滚筒式裁切机,其特征在于,包括支架、固定在支架上的用于夹紧并传输KT板的滚筒组件以及固定在支架上的刀片组件;所述滚筒组件包括上滚筒、设置在上滚筒下方的下滚筒、调节上滚筒与下滚筒之间距离的调节座以及驱动上滚筒与下滚筒转动的驱动装置;所述上滚筒与下滚筒的转动方向相反;所述刀片组件设置在上滚筒与下滚筒的YI侧。
2 .根据权利要求1所述的KT板滚筒式裁切机,其特征在于,所述调节座包括框形固定架、设置在框形固定架内的上滚筒座和下滚筒座以及固定在上滚筒座上的调节把手;所述上滚筒可转动地安装在上滚筒座上,所述下滚筒可转动地安装在下滚筒座上;所述下滚筒座固定在框形固定架的底部;所述框形固定架内壁上设有两条限位条,框形固定架的顶部开设有限位孔;所述调节把手通过螺纹限位于限位孔内,调节把手的底端固定在上滚筒座的顶部;通过旋转调节把手使上滚筒座沿着限位条上下调节。
3 .根据权利要求2所述的KT板滚筒式裁切机,其特征在于,所述滚筒组件为两组,所述刀片组件设置在两组滚筒组件之间;所述滚筒组件通过链条或皮带轮实现同步转动。
4 .根据权利要求3所述的KT板滚筒式裁切机,其特征在于,所述两组滚筒组件的上滚筒通过链条实现同步转动,两组滚筒组件的下滚筒通过链条实现同步转动。
5 .根据权利要求1所述的KT板滚筒式裁切机,其特征在于,所述刀片组件包括刀片、刀片安装座以及用于固定刀片安装座的固定杆。
6 .根据权利要求5所述的KT板滚筒式裁切机,KT板厂其特征在于,所述刀片安装座包括刀片安装板和连接在刀片安装板YI端的固定套环;所述刀片安装板上设有用于固定刀片的刀片安装孔,刀片安装板的侧壁设有第YI紧固孔,所述刀片通过紧固件插设在第YI紧固孔内以固定在刀片安装孔内;所述固定套环上开设有第二紧固孔,所述固定套环通过紧固件插设在第二紧固孔内以使刀片安装座固定在固定杆处。
【相关推荐】
推荐资讯
导光板

导光板

导光板:用我公司 配方导光板暴材,本产品质量稳定,生产效率高。只有超薄.超亮.导光均匀、环保,无暗区,耐用不易黄化,节...
2018-08-01
有机板|亚克力板|PS板|有机玻璃板

有机板|亚克力板

有机板是YI种热塑性非结晶的树脂,无色、无臭、无味而有光泽、质轻价廉、吸水性低、着色性好、化学性质稳定,具优良的...
2018-08-01

咨询热线

18638156288